Résultats de la recherche
Vue d’ensemble
Connexions
Lecture
Réglages
Conseils
Annexe
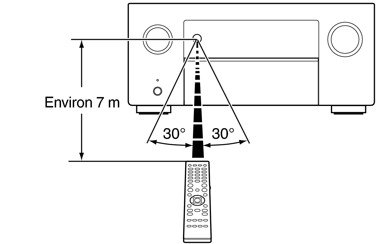
Portée de la télécommande
Pointez la télécommande vers le capteur de télécommande de l’unité.

AMPLI AUDIO/VIDEO RESEAU
© 2024 Masimo. All Rights Reserved.

Vue d’ensemble
Connexions
Lecture
Réglages
Conseils
Annexe
Résultats de la recherche
Aucun mot correspondant.
Vue d’ensemble
Connexions
Lecture
Réglages
Conseils
Annexe
Pointez la télécommande vers le capteur de télécommande de l’unité.
